PRODUTOS

JANELA REDONDA fixa

Pantenteado

HOMOLOGAÇÕES

permeabilidade ao ar A CLASE 4 – UNE-EN 12207:2000 PDF
estanque à água E CLASE 7A – UNE-EN 12208:2000 PDF
resistência ao vento V CLASE C4 – UNE-EN 12210:2000 PDF
transmitância térmica Uw 1,55 W/mK UNE-EN-ISO 10077:2001 PDF
resistência à corrosão ANEXO B – UNE EN-ISO 14351-1:2006 PDF

ACABADOS DISPONIBLES

imitação pinho

imitación pino

imitação sapelly

imitación sapelly

imitação embero

imitación embero

aluminio natural

aluminio natural

imitação inox

imitación inox

imitação bronze

imitación bronce

Lacados carta RAL, branco, preto

lacados RAL, blanco, negro

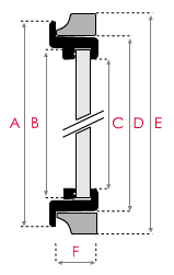
PLANOS E MEDIDAS

Fixa Ø mm 400

Basculante Ø mm 400
A Exterior total 438
B Do Vidrio 372
C Luz 250
D Exterior janela 402
E Exterior pré-quadro 460
F Espessor da moldura 49

Diâmetros Ø disponíveis:

Diametro

Enviamos para o seu e-mail a documentação solicitada.

Downloads:

FORMULARIO DE DESCARGAS

Digite seu e-mail abaixo para que possamos enviar-lhe esta documentação

A enviar documentação...

Documentação enviada corretamente. Obrigado por nos contactar.